授权专利
导尿协助装置
公开(公告)号: CN221618328U
摘要附图:

标题: 导尿协助装置
专利类型: 实用新型
申请日: 2023-11-30
公开(公告)日: 2024-08-30
申请号: CN202323249210.8
当前申请(专利权)人: 首都医科大学附属北京潞河医院
IPC分类号: A61M25/10 | A61B1/32 | A61B1/04
法律状态/事件: 授权
技术功效语段: [0014]本申请提供的技术方案可以包括以下有益效果:通过在内气囊外套接外气囊,当内气囊扩张不充分时,可以使用外气囊进一步扩张,无需为了扩张至所需尺寸而反复更换气囊,减少手术的时间,提高手术的成功率。[0015]应当理解的是,以上的一般描述和后文的细节描述仅是示例性和解释性的,并不能限制本申请。
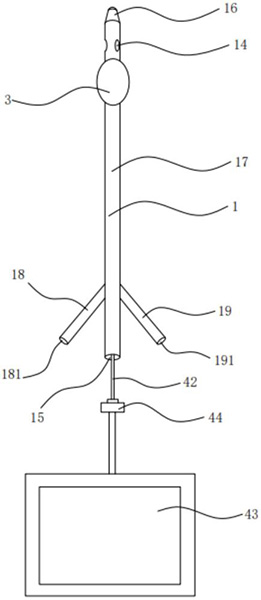
摘要: 本申请涉及一种导尿协助装置。该导尿协助装置包括管体、内气囊、外气囊以及摄影组件;所述管体设有内腔、第一进气通道和第二进气通道,所述管体开设进液口,所述进液口与所述内腔相连通,所述管体的一端设有透明罩,所述管体的另一端设有导出口;所述内气囊位于所述管体的外表面,所述内气囊与所述第一进气通道相连通;所述外气囊套在所述内气囊外,所述外气囊与所述第二进气通道相连通;所述摄影组件包括镜头和导线,所述镜头位于所述内腔中,且所述镜头朝向所述透明罩,所述导线自所述镜头向所述导出口延伸并伸出所述导出口。本申请提供的方案,能够根据患者实际需要对尿道进行二次扩张。

























