授权专利
一种皮肤扒紧器
公开(公告)号: CN221712250U
摘要附图:

标题: 一种皮肤扒紧器
专利类型: 实用新型
申请日: 2023-10-24
公开(公告)日: 2024-09-17
申请号: CN202322848684.8
发明人: 王献方 | 陈建英
当前申请(专利权)人: 首都医科大学附属北京潞河医院
IPC分类号: A61B90/17 | A61B17/34
法律状态/事件: 授权
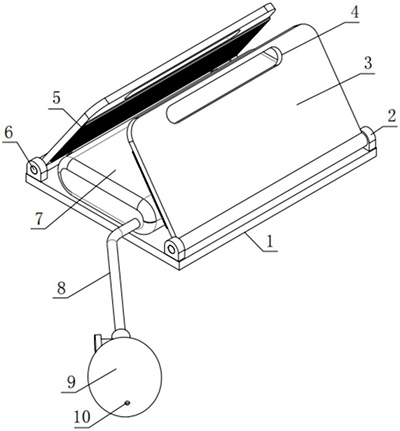
技术功效语段: [0018]本实用新型提供的皮肤扒紧器,使用时,将两个皮肤扒紧板向外扒开,然后让老年患者将上臂放置在手臂支撑气囊的上部,然后缓慢松开两个皮肤扒紧板,在拉紧件的作用下使得两个皮肤扒紧板呈“八”字形将老年患者的上臂夹紧,然后通过加压球给手臂支撑气囊充气,使得手臂支撑气囊膨胀将老年患者的上臂顶起,在将老年患者的上臂顶起的过程中,手臂上的皮肤相对被两个皮肤扒紧板向下扒紧,此时手臂上的血管就容易固定了,便于医护人员对老年患者进行PICC穿刺,从而提高穿刺成功率,同时可以代替助手人为的扒紧皮肤固定血管,有效节约人力资源。
摘要: 本实用新型提供了一种皮肤扒紧器,包括:底板,底板的上部设有用于扒紧皮肤的皮肤扒紧组件,其中:皮肤扒紧组件包括两对安装座、两个皮肤扒紧板、手臂支撑气囊、软管以及加压球,两对安装座均固定安装在底板的上部,且两对安装座对称分布在底板的两侧边缘,两个皮肤扒紧板均通过转轴分别铰接在两对安装座上,每个皮肤扒紧板与底板之间均固定安装有拉紧件,在拉紧件的作用下使得两个皮肤扒紧板呈“八”字形。本实用新型提供的皮肤扒紧器,可以代替人工将皮肤扒紧板向下扒紧,此时手臂上的血管就容易固定了,便于医护人员对老年患者进行PICC穿刺,从而提高穿刺成功率,同时可以代替助手人为的扒紧皮肤固定血管,有效节约人力资源。

























