授权专利
新型妇产科婴儿洗浴盆
公开(公告)号: CN219438915U
摘要附图:

标题: 新型妇产科婴儿洗浴盆
专利类型: 实用新型
申请日: 2023-03-30
公开(公告)日: 2023-08-01
发明人: 王璐璐
当前申请(专利权)人: 首都医科大学附属北京潞河医院
IPC分类号: A47K3/20 | A47K3/024 | A47K3/00 | A47K3/12 | A47K3/16
法律状态/事件: 授权
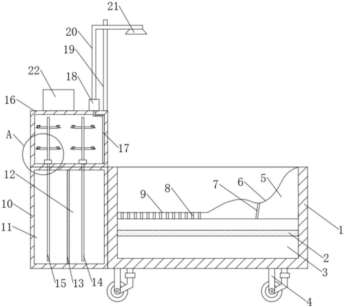
技术功效语段: [0029]1.新型妇产科婴儿洗浴盆,包括洗浴盆,所述洗浴盆的一侧固定设置有用于存储冷热水的水箱,所述水箱的上方设置有用于供水箱中的冷热水进入而预先调温的调水箱,所述调水箱上设置有将调水箱中调节好水温的水喷洒出的喷洒组件,婴儿可在洗浴盆中座落在隔板上进行洗浴,具体的,婴儿的臀部位于弧形凹槽中,腿部位于平躺区的上方,使得婴儿不容易溺水,保护性强,且弧形凹槽的设计使得婴儿躺在背靠区上时不易滑落。 [0030]2.新型妇产科婴儿洗浴盆,洗浴盆的一侧设置有存储冷热水的水箱,水箱中的冷热水会进入调水箱中进行调节到合适的温度后再通过喷洒组件喷出,使得喷洒出的水温稳定性较强,不会出现忽冷忽热使得婴儿出现烫伤或者着凉的现象,安全防护性强,可用于婴儿洗浴使用。 [0031]参照后文的说明和附图,详细公开了本实用新型的特定实施方式,指明了本实用新型的原理可以被采用的方式。应该理解,本实用新型的实施方式在范围上并不因而受到限制。
摘要: 本实用新型公开了新型妇产科婴儿洗浴盆,包括洗浴盆,所述洗浴盆的一侧固定设置有用于存储冷热水的水箱,所述水箱的上方设置有用于供水箱中的冷热水进入而预先调温的调水箱,所述调水箱上设置有将调水箱中调节好水温的水喷洒出的喷洒组件,婴儿可在洗浴盆中座落在隔板上进行洗浴,具体的,婴儿的臀部位于弧形凹槽中,腿部位于平躺区的上方,使得婴儿不容易溺水,保护性强,且弧形凹槽的设计使得婴儿躺在背靠区上时不易滑落。

























