授权专利
【实用新型】一种轮椅脚踏组件及具有该脚踏组件的轮椅
公开(公告)号: CN215779280U
摘要附图:

标题: 一种轮椅脚踏组件及具有该脚踏组件的轮椅
专利类型: 实用新型
申请日: 2021-09-10
公开(公告)日: 2022-02-11
发明人: 王峥
当前申请(专利权)人: 首都医科大学附属北京潞河医院
IPC分类号: A61G5/10 | A61G5/12
法律状态/事件: 授权
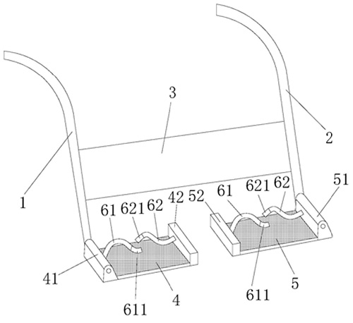
技术功效: [0022]优选地,所述第一挡板设置为与所述第一脚踏板垂直,所述第二挡板设置为与所述第二脚踏板垂直,并且所述第一挡板与所述第二挡板的高度均设置为2-5cm。 [0023]一种轮椅,包括上述的轮椅脚踏组件。 [0024]本实用新型提供的一种轮椅脚踏组件及具有该脚踏组件的轮椅,轮椅脚踏组件包括第一连接杆、第二连接杆、横挡以及第一脚踏板和第二脚踏板。轮椅脚踏组件安装于轮椅上,通过在脚踏板的内侧设置突出于脚踏板的挡板结构,既可有效阻止使用者的脚部向内侧滑落,也不影响其乘坐体验,并且结构简单,使用方便,配合横挡的使用,能够承受腿部的一部分压力,有效地减轻使用者脚部的负担,起到很好地防止脚部脱落的作用,并且安全系数高,稳定性好,防止意外的发生,满足使用者的使用需求。
摘要: 本实用新型提供了一种轮椅脚踏板及具有该脚踏板的轮椅,涉及医疗用具技术领域,以解决临床使用中,由于推动轮椅时有颠簸,导致患者的脚部经常从脚踏板上滑落,患者的脚卡在两个脚踏板中间,或者鞋子擦地,存在发生意外事故的风险的技术问题,该装置包括第一连接杆、第二连接杆、固定连接于第一连接杆、第二连接杆上的横挡以及第一脚踏板和第二脚踏板,第一连接杆与第二连接杆分别活动连接于轮椅的两侧,第一脚踏板的一侧设置为与第一连接杆活动连接的第一连接端,另一侧设置有第一挡板;第二脚踏板的一侧设置为与第二连接杆活动连接的第二连接端,另一侧设置有第二挡板,本实用新型避免患者的脚部向内侧滑落,确保使用安全。

























