授权专利
【实用新型】一种便捷血糖刺血器
公开(公告)号: CN215738972U
摘要附图:

标题: 一种便捷血糖刺血器
专利类型: 实用新型
申请日: 2021-05-19
公开(公告)日: 2022-02-08
发明人: 谭颖
当前申请(专利权)人: 首都医科大学附属北京潞河医院
IPC分类号: A61B5/151 | A61M35/00 | A61B17/12
法律状态/事件: 授权
技术功效: [0016]与现有技术相比,本实用新型的有益效果是:本实用新型通过转动套在固定杆的外部进行转动,使得能够快速的转换第一连接板、第二连接板与第三连接板的位置,从而能够集消毒、采集和压血为一体,可方便医护人员的使用,该设置结构简单,操作方便,有效的增加其实用性。
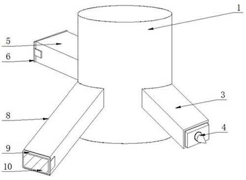
摘要: 本实用新型涉及血糖检测技术领域,公开了一种便捷血糖刺血器,所述固定杆的外部套接有转动套,所述转动套的前表面设置有拉板,且转动套的外部从左到右分别设置有第三连接板、第一连接板和第二连接板,所述第二连接板的前端设置有第一粘胶层,所述第一粘胶层的前表面粘附有干棉片,所述第三连接板的前端设置有第二粘胶层,所述第二粘胶层的前表面粘附有酒精棉片,所述第一连接板的前表面设置有采血针头。通过转动套在固定杆的外部进行转动,使得能够快速的转换第一连接板、第二连接板与第三连接板的位置,从而能够集消毒、采集和压血为一体,可方便医护人员的使用,该设置结构简单,操作方便,有效的增加其实用性。

























