授权专利
【实用新型】一种新型输液泵
专利号:ZL202021998797.6
申请日:20200914
发明人:姬红然; 李楠
法律状态:授权
公开号:CN213526845U
授权公告日:2021-06-25
交易方式:转让; 许可
【摘要】:
本实用新型公开了一种新型输液泵,包括外壳,外壳的内顶部固定安装有变速电机,变速电机的下端连接有螺纹杆,螺纹杆上螺纹安装有螺纹套筒,螺纹套筒的下端连接有压板,螺纹套筒的一侧固定连接有滑块,外壳的内壁上开设有滑槽,外壳的内底部设置有挤压腔,外壳的内底部开设有缺口,输液瓶更换口上安装有门板;弹性塑料管卡卡接在输液管的墨菲氏管上,且弹性塑料管卡的内侧安装有红外滴液传感器。本输液泵可以通过机械旋转推压的方式,可对软体输液类器皿直接作用,减少配药时的反复操作以及患者自己不能自己处理药物更换的问题,且通过红外滴液传感器进行滴速测量,然后通过PLC控制器控制变速电机的转速,控制均匀的输液速度。
【技术领域】:
本实用新型涉及输液泵技术领域,具体为一种新型输液泵。
【实用新型内容】:
一种新型输液泵,包括:
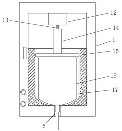
外壳,所述外壳的内顶部固定安装有变速电机,所述变速电机的下端通过联轴器连接有螺纹杆,所述螺纹杆上螺纹安装有螺纹套筒,所述螺纹套筒的下端固定连接有压板,所述螺纹套筒的一侧固定连接有滑块,所述外壳的内壁上开设有滑槽,所述滑块的一端滑动插接在所述滑槽内,所述外壳的内底部设置有挤压腔,所述外壳的内底部开设有缺口,所述外壳的一侧开设有输液瓶更换口,所述输液瓶更换口上安装有门板;
弹性塑料管卡,所述弹性塑料管卡卡接在输液管的墨菲氏管上,且所述弹性塑料管卡的内侧安装有红外滴液传感器,所述红外滴液传感器的一侧通过连接线连接有PLC控制器,所述PLC控制器固定安装在所述外壳的一侧。
优选的,还包括有软体输液器皿,所述软体输液器皿安装在所述挤压腔内,所述软体输液器皿下端的输液管设置在所述缺口内。
通过采用上述技术方案,本输液泵可以通过机械旋转推压的方式,可对软体输液类器皿直接作用,减少配药时的反复操作以及患者自己不能自己处理药物更换的问题,且可以通过红外滴液传感器进行滴速测量,并可以自行纠正压力,保持在设定范围,控制均匀的输液速度。
优选的,所述外壳的一侧固定连接有L形卡块,所述门板上转动安装有转动杆,所述转动杆的一端卡在所述L形卡块的内侧。
通过采用上述技术方案,通过L形卡块和转动杆配合,便于门板开合。
优选的,所述PLC控制器上安装有显示屏,且PLC控制器上还安装有用于控制变速电机速度增减的操作按钮。
通过采用上述技术方案,通过操作按钮可以调整变速电机的转速,从而调整输液压力和输液速度。
优选的,所述外壳的正面下部还安装有警示灯以及工作指示灯。
通过采用上述技术方案,通过警示灯,在异常发生时,可以提供报警信息。
优选的,所述外壳的顶部两侧还固定连接有固定带。
通过采用上述技术方案,通过固定带便于将外壳固定在吊架上。
与现有技术相比,本实用新型的有益效果是:
本输液泵可以通过机械旋转推压的方式,可对软体输液类器皿直接作用,减少配药时的反复操作以及患者不能自己处理药物更换的问题,给特殊需求患者一个居家旅行时都可以使用的环境,操作简单,并在外救援时对于没有配药环境的情况下也可使用,给予患者及时处理;且本实用新型可以通过安装在弹性塑料管卡内侧的红外滴液传感器,进行滴速测量,然后通过PLC控制器采集滴速信息,并通过信息处理控制变速电机的转速,从而调整压力,且可以自行纠正压力,保持在设定范围,控制均匀的输液速度;且可以通过滴速判断输液是否正常进行。
【附图】:





























