授权专利
【实用新型】一种感应止血器
专利号:ZL202022088358.8
申请日:20200922
发明人:叶凡佳
法律状态:授权
公开号:CN213552090U
授权公告日:2021-06-29
交易方式:转让; 许可
【摘要】:
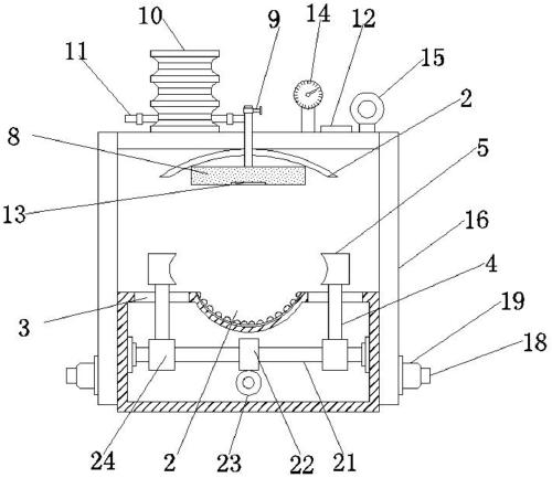
本实用新型涉及止血器技术领域,具体是一种感应止血器,包括底座,底座的内部设有空腔,底座的顶部一侧中间开设有弧形放置槽,弧形放置槽的两侧且位于所述底座上均对称开设有滑动槽,滑动槽的内部设有固定杆。该装置结构简单,方便操作使用,调节装置能够调节夹块与手臂之间的距离,从而实现对于手臂两侧进行夹紧,增加放置的稳定性,同时压力传感器、气压表和控制器能够对气囊按压过程中的压力起到检测的作用,避免压力过大造成手臂按压的疼痛,避免压力过小出现回血的现象,同时该装置避免了人工手动按压的酸麻,同时能够及时感应到按压过程中的压力,增加了使用过程中的安全性,固定装置增加了气囊按压过程中的稳定性。
【技术领域】:
本实用新型涉及止血器技术领域,具体是一种感应止血器。
【实用新型内容】:
一种感应止血器,包括底座,所述底座的内部设有空腔,所述底座的顶部一侧中间开设有弧形放置槽,所述弧形放置槽的两侧且位于所述底座上均对称开设有滑动槽,所述滑动槽的内部设有固定杆,所述固定杆的一端且位于所述滑动槽的外部固定设有夹块,所述固定杆的另一端与调节装置连接,所述弧形放置槽的上方设有升降板,所述升降板的一侧固定设有弧形板,所述弧形板的一侧设有气囊,所述气囊的顶部一侧设有进气管,所述进气管的另一端依次贯穿所述弧形板和所述升降板且向其一侧延伸与第一连通管连接,所述连通管的另一端与橡胶伸缩管相连通,所述橡胶伸缩管的另一侧设有第二连通管,所述第二连通管和所述第一连通管上均设有单向阀,所述升降板的顶部一侧固定设有控制器,所述气囊的一侧固定设有与所述控制器电性连接的压力传感器,所述升降板的一侧分别设有与控制器电性连接的气压表和警示灯,所述升降板的两侧均固定设有固定装置;
所述固定装置包括固定设于所述升降板两侧的调节板,所述调节板的一端开设有调节槽,所述调节槽的内部设有螺纹柱,所述螺纹柱的一端与所述底座的侧壁固定连接,所述螺纹柱上螺纹设有锁紧螺母。
作为本实用新型更进一步的方案:所述升降板的顶部一侧固定设有蓄电池,所述蓄电池与所述控制器电性连接。
作为本实用新型更进一步的方案:所述调节装置包括设于所述空腔内部的螺纹杆,所述螺纹杆的中间固定套设有蜗轮,所述蜗轮的下方一侧啮合设有蜗杆,所述蜗轮的两侧且位于所述螺纹杆上均设有螺母,所述螺母与所述螺纹杆螺纹连接,所述螺母的一侧与所述固定杆固定连接。
作为本实用新型更进一步的方案:所述螺纹杆的两端和所述蜗杆的一端均通过轴承座与所述空腔的内壁连接。
作为本实用新型更进一步的方案:所述蜗杆远离所述轴承座的一端贯穿所述底座且向所述空腔的外部延伸与旋转手柄固定连接。
作为本实用新型更进一步的方案:所述弧形放置槽的内部设有硅胶垫,所述硅胶垫上设有防滑凸起。
与现有技术相比,本实用新型的有益效果是:该装置结构简单,方便操作使用,调节装置能够调节夹块与手臂之间的距离,从而实现对于手臂两侧进行夹紧,增加放置的稳定性,同时压力传感器、气压表和控制器能够对气囊按压过程中的压力起到检测的作用,避免压力过大造成手臂按压的疼痛,避免压力过小出现回血的现象,同时该装置避免了人工手动按压的酸麻,同时能够及时感应到按压过程中的压力,增加了使用过程中的安全性,固定装置增加了气囊按压过程中的稳定性。
【附图】:




























