授权专利
【实用新型】一种儿童分药器
专利号:ZL202022073642.8
申请日:20200921
发明人:石瑞娟
法律状态:授权
公开号:CN213532712U
授权公告日:2021-06-25
交易方式:转让; 许可
【摘要】:
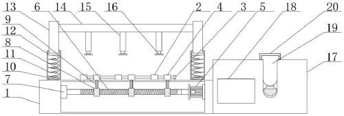
本实用新型涉及分药器技术领域,具体是一种儿童分药器,包括第一操作台,第一操作台的上方固定设置有三个第一固定卡块,三个第一固定卡块的一侧均设置有第二固定卡块,第一操作台的上方对称设置有第三支撑杆,两个第三支撑杆之间通过第四支撑杆相连,第四支撑杆的下方对应三个第一固定卡块上方的位置处均设置有刀片,第一操作台的一侧固定设置有第二操作台。本实用新型设计新颖,电机、螺纹杆、螺母滑动块、第一固定卡块以及第二固定卡块部分的设计可以使得此装置批量对药片进行固定、切割,提高了切割的效率,研磨棒和研磨槽部分的设计使得此装置可以对切割好的药品进行粉碎,增加了实用性。
【技术领域】:
本实用新型涉及分药器技术领域,具体是一种儿童分药器。
【实用新型内容】:
一种儿童分药器,包括第一操作台,所述第一操作台的上方固定设置有三个第一固定卡块,三个所述第一固定卡块之间通过滑杆相连,所述滑杆的外侧分别位于三个所述第一固定卡块的一侧均滑动设置有第二固定卡块,所述第一操作台的内侧固定设置有电机,所述电机的一端固定设置有螺纹杆,所述螺纹杆的一端转动连接有与第一操作台相连的转动件,且螺纹杆的外侧对应三个第二固定卡块的位置处均设置有螺母滑动块,三个所述螺母滑动块的上方均固定设置有与第二固定卡块相连的第一支撑杆,所述第一操作台的上方对称固定设置有第二支撑杆,两个所述第二支撑杆的内部均固定设置有弹簧,两个所述弹簧的上方均固定设置有限位块,两个所述限位块的上方均固定设置有第三支撑杆,两个所述第三支撑杆的一端均贯穿第二支撑杆并延伸至其外部通过第四支撑杆相连,所述第四支撑杆的下方对应三个第一固定卡块上方的位置处均固定设置有第五支撑杆,三个所述第五支撑杆的下方固定设置有刀片,所述第一操作台的一侧固定设置有第二操作台,所述第二操作台的内部固定设置有抽屉,且第二操作台的内部位于抽屉的一侧卡合设置有研磨槽,所述第二操作台的内部位于研磨槽的一侧嵌入设置有研磨柱。
作为本实用新型更进一步的方案;所述抽屉的内部设置有分类隔间,且每个分类隔间的上方均固定设置有密封盖。
作为本实用新型更进一步的方案;所述第四支撑杆通过焊接的方式与两个第三支撑杆相连,且第四支撑杆的两侧对称固定设置有防滑套,防滑套的表面设有防滑纹。
作为本实用新型更进一步的方案;所述研磨槽的外侧对称固定设置有卡柱,所述第二操作台的内部对应两个卡柱的位置处均开设有能与其恰好卡合的卡槽。
作为本实用新型更进一步的方案;所述第五支撑杆为一种不锈钢材质的构件,且第五支撑杆呈中空结构,所述第五支撑杆的内侧设置有内螺纹,所述刀片的外侧固定设置有与第五支撑杆的内螺纹相适配的外螺纹。
作为本实用新型更进一步的方案;所述第一操作台的上方对应三个第一支撑杆的位置处开设有滑槽,且滑槽的直径与第一支撑杆相同。
与现有技术相比,本实用新型的有益效果是:本实用新型设计新颖,灵活方便,电机、螺纹杆、螺母滑动块、第一固定卡块以及第二固定卡块部分的设计可以使得此装置批量对药片进行固定,避免出现切割时药片位置移动而导致切割不均匀的情况,且此装置可以对药片进行批量切割,提高了切割的效率,研磨棒和研磨槽部分的设计使得此装置可以对切割好的药品进行粉碎,更加便于儿童吃药,操作简单,增加了实用性。
【附图】:




























