授权专利
【实用新型】一种插管简易固定装置
专利号:ZL202022762875.9
申请日:20201125
发明人:王京
法律状态:授权
公开号:CN214260291U
授权公告日:2021-09-24
交易方式:转让; 许可
【摘要】:
本实用新型属于医疗设备技术领域,具体涉及一种插管简易固定装置,包括定位环,所述定位环两端设有对称分布且用于定位环固定的定位带,所述定位带一侧设有用于定位带之间连接固定的卡扣机构,所述定位环内设有对称分布的第一卡盘和第二卡盘,所述第一卡盘和第二卡盘中部均设有用于插管固定的卡槽,且第一卡盘和第二卡盘之间设有多个相连接且用于第一卡盘和第二卡盘之间相互自动接近的复位弹簧,利用第一卡盘和第二卡盘,能够将插管进行有效的固定;同时定位带和卡扣机构的结合,能够有效的将定位环固定在患者的头部,可拆卸式的设计,能够通过消毒后循环多次利用,节约了成本,使用更加的方便快捷。
【技术领域】:
本实用新型属于医疗设备技术领域,具体涉及一种插管简易固定装置。
【实用新型内容】:
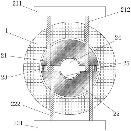
一种插管简易固定装置,包括定位环,所述定位环两端设有对称分布且用于定位环固定的定位带,所述定位带一侧设有用于定位带之间连接固定的卡扣机构,所述定位环内设有对称分布的第一卡盘和第二卡盘,所述第一卡盘和第二卡盘中部均设有用于插管固定的卡槽,且第一卡盘和第二卡盘之间设有多个相连接且用于第一卡盘和第二卡盘之间相互自动接近的复位弹簧,位于第一卡盘一侧的所述定位环内设有对称分布且滑动连接的第一调节杆,所述第一调节杆外侧设有固定连接的第一压板,且第一调节杆另一侧活动穿过相应的第一卡盘内部与第二卡盘连接固定,位于第二卡盘一侧的所述定位环内设有对称分布且滑动连接的第二调节杆,所述第二调节杆外侧设有固定连接的第二压板,且第二调节杆另一侧活动穿过相应的第二卡盘内部与第一卡盘连接固定。
优选的,所述卡槽为半圆形,且卡槽内壁上设有固定连接的橡胶垫层。
优选的,所述卡扣机构包括卡块,所述卡块一侧与相应的定位带端部连接固定,位于定位带上端的所述卡块内设有用于定位带穿过的调节槽,位于调节槽上端的所述卡块内设有螺纹连接且用于定位带固定的调节螺栓,所述调节螺栓外侧端部设有固定连接的把手杆。
优选的,所述定位带为4个。
与现有技术相比,本实用新型具有以下技术效果:
本实用新型利用第一卡盘和第二卡盘,能够将插管进行有效的固定;同时定位带和卡扣机构的结合,能够有效的将定位环固定在患者的头部,可拆卸式的设计,能够通过消毒后循环多次利用,节约了成本,使用更加的方便快捷;
第一调节杆和第二调节杆的设计,通过对第一压板和第二压板的挤压,使第一调节杆和第二调节杆分别带动第二卡盘和第一卡盘相互远离,从而使插管更加容易插入卡槽内,而且能够对不同直径的插管进行固定;
复位弹簧的设计,在失去外力(即不再同时挤压第一压板和第二压板)时,复位弹簧能够使第一卡盘和第二卡盘自动相互靠近挤压,从而能够将插管固定的更加的牢固。
【附图】:




























