授权专利
【实用新型】护理床
专利号:ZL202121040305.7
申请日:20210514
发明人:赵立伟
法律状态:授权
公开号:CN214858427U
授权公告日:2021-11-26
交易方式:转让; 许可
【摘要】:
本实用新型公开了一种护理床,包括:床架、床板、床腿、第一起身装置和支撑杆。第一起身装置包括挡板和辅助起身梯,挡板远离床板的一端上设有第一凸起和第二凸起,第一凸起设有第一通孔,第二凸起设有第二通孔,挡板设有圆环;辅助起身梯包括第一长杆、第二长杆和多根短杆,多根短杆均一端连接第一长杆,另一端连接第二长杆,第一长杆一端与第一通孔卡合,另一端与第二通孔卡合;支撑杆包括套体和棍体,套体与第二长杆套接;棍体一端连接套体的外壁,另一端与圆环匹配。通过多根短杆,提供多个着力点,具有引导性,解决无人看护时,病人无法自主起身的问题,具有锻炼功能。
【技术领域】:
本实用新型涉及医疗设备领域,更具体地,涉及一种护理床。
【实用新型内容】:
本实用新型提供了一种护理床,包括:
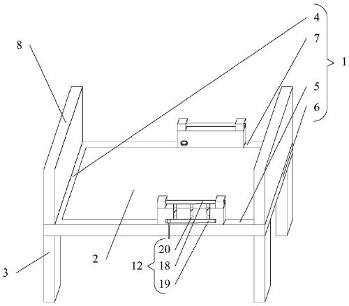
床架、床板和床腿,所述床架为矩形框体,包括顺次连接的第一边、第二边、第三边和第四边,所述床架还包括与所述第一边连接的床头和与所述第三边连接的尾板;所述床板与所述床架卡合,所述床腿设置于所述床架靠近地面一侧;
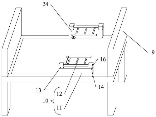
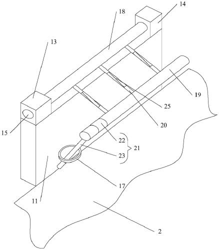
还包括第一起身装置,所述第一起身装置包括挡板和辅助起身梯,所述挡板的一端与所述第二边连接,所述挡板与所述床板所在平面垂直,沿垂直于所述床板所在平面的方向上,所述挡板远离所述床板的一端上设有第一凸起和第二凸起,所述第一凸起与所述第二凸起之间具有间隔,所述第一凸起设有沿所述第一边指向所述第三边的方向上贯穿的第一通孔,所述第二凸起设有沿所述第一边指向所述第三边的方向上贯穿的第二通孔,所述挡板靠近所述第四边一侧设有圆环;所述辅助起身梯包括第一长杆、第二长杆和沿所述第一长杆指向所述第二长杆的方向上延伸的多根短杆,所述第一长杆和所述第二长杆沿所述第一边指向所述第三边的方向上延伸,多根所述短杆均一端连接所述第一长杆,另一端连接所述第二长杆,所述第一长杆一端与所述第一通孔卡合,另一端与所述第二通孔卡合;
还包括支撑杆,所述支撑杆包括套体和棍体,所述套体为中空圆柱体,所述套体与所述第二长杆套接;所述棍体一端连接所述套体的外壁,另一端与所述圆环匹配。
优选地,所述第四边设有第二起身装置,所述床架包括沿所述第一边指向所述第三边的方向上延伸的虚拟对称轴,所述第二起身装置与所述第一起身装置沿所述虚拟对称轴对称。
优选地,所述第一长杆与所述第二长杆均与所述床头的距离范围为80‑100cm之间。
优选地,所述短杆至少有3根,相邻两根所述短杆之间的距离范围在15cm‑20cm之间。
优选地,还包括防滑条,所述防滑条贴附于所述短杆的外壁上。
优选地,所述防滑条的材质为橡胶或海绵中的一种。
与现有技术相比,本实用新型提供的护理床,至少实现了如下的有益效果:
1、本实用新型提供的护理床的辅助起身梯具有多根短杆,提供多个着力点,具有引导性,解决无人看护时,病人无法自主起身的问题,具有锻炼功能。
2、本实用新型提供的护理床的第一长杆一端与第一通孔卡合,另一端与第二通孔卡合,使得辅助起身梯能够沿第一长杆转动,在不使用时,可将辅助起身梯转动至挡板远离床板一侧,不占用护理床的休息区域,使用更加灵活。
3、本实用新型提供的护理床的支撑杆与圆环匹配,由于床板支撑棍体,在沿垂直于床板所在平面上,使得支撑杆、辅助起身梯和挡板构成三角形,稳定性更高。
4、本实用新型提供的护理床的挡板能够防止病人从护理床上摔落,安全性高。
【附图】:




























