授权专利
【实用新型】一种心内科临床压迫快速止血装置
专利号:ZL202021446085.3
申请日:20200721
发明人:吴永霞
法律状态:授权
公开号:CN213047122U
授权公告日:2021-04-27
交易方式:转让; 许可
【摘要】:
本实用新型公开了一种心内科临床压迫快速止血装置,包括支撑杆,所述支撑杆的底端套有两组固定杆,所述转动杆底端的表面均匀开设有第一插槽,所述插杆的左侧延伸至第一插槽的内部,所述定位杆顶端的右侧插设有移动杆,所述移动杆的底端开设有第二插槽,所述插块的左右两侧皆开设有夹槽,所述夹块相互远离的一侧皆延伸至运动槽的内部。本实用新型同时方便用户使用该装置,对病患伤口处进行定位,使得用户可以快速的病患的伤口处进行定位,可对按压力度进行调节,按压时喷溅的血液进行阻隔,避免血液喷溅沾染装置,造装置难以清洗,进一步更强了该装置的使用性方位,使得用户可以更加便捷地对棉花塞进行更换。
【技术领域】:
本实用新型涉及心内科临床压迫止血技术领域,具体为一种心内科临床压迫快速止血装置。
【实用新型内容】:
本实用新型的目的在于提供一种心内科临床压迫快速止血装置,以解决上述背景技术中提出的传统的心内科手术中,医护人员需要长时间的对病人伤口处进行手动按压,费时费力,不便于人工操作,且长期的按压,会导致一户人员手部产生酸痛,并且手力按压止血效果不佳,很难控制根据需要控制按压力度,容易造成伤口喷血的问题。
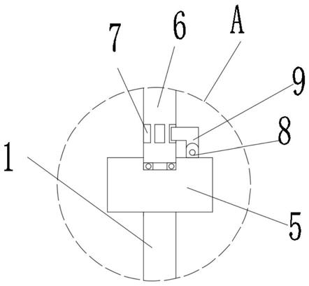
为实现上述目的,本实用新型提供如下技术方案:一种心内科临床压迫快速止血装置,包括支撑杆,所述支撑杆的底端套有两组固定杆,两组所述固定杆的中部设置有旋转杆,且旋转杆的两端皆穿过固定杆延伸至固定杆的外侧,所述固定杆相互靠近一侧的右侧皆焊接有固定块,所述支撑杆的顶端焊接有连接块,且连接块的顶端插设有转动杆,且转动杆的底端延伸至连接块的内部通过内嵌轴承与连接块的内壁相连接,所述转动杆底端的表面均匀开设有第一插槽,所述连接块顶端的右侧焊接有复位轴,且复位轴的顶端焊接有插杆,所述插杆的左侧延伸至第一插槽的内部,所述转动杆右侧的顶端焊接有操作仓,且操作仓的右侧插设有定位杆,并且定位杆的左侧延伸至操作仓的内部,所述定位杆的顶端皆均匀焊接有定位块,所述操作仓的背部插设有传动杆,所述定位杆顶端的右侧插设有移动杆,且移动杆的顶端焊接有旋转块,所述移动杆的底端套设有阻隔板,且阻隔板的底端焊接有安装板,所述安装板的底端安装有第一磁铁,且第一磁铁的下方设置有连接板,并且连接板的顶端安装有第二磁铁,所述第二磁铁与第一磁铁相互贴合,所述连接板的内部设置有棉花塞,所述移动杆的底端开设有第二插槽,且第二插槽的底端插设有插块,并且插块的底端延伸至第二插槽的内部,所述插块的底端与安装板的顶端焊接固定,所述插块的左右两侧皆开设有夹槽,且夹槽相互远离的一侧皆插设有夹块,所述阻隔板左右两侧的内壁皆开设有运动槽,所述夹块相互远离的一侧皆延伸至运动槽的内部。
优选的,所述旋转杆的表面开设有外螺纹,所述固定杆的内壁皆开设有内螺纹。
优选的,所述固定块相互靠近的一侧皆胶合有防滑垫,且防滑垫的表面皆开设有防滑纹。
优选的,所述复位轴包括轴圈、轴杆和轴板,所述轴圈的内部焊接有轴杆,所述轴杆的表面套设有轴板,所述轴杆的表面套设有扭力弹簧,且扭力弹簧的一端与轴板焊接固定,所述扭力弹簧的另一端与轴杆的表面焊接固定。
优选的,所述传动杆前端的表面均匀焊接有锯齿块,且锯齿块与定位块相互抵触。
优选的,所述旋转块的表面开设有外螺纹,所述定位杆的内壁开设有内螺纹。
优选的,所述夹块相互远离的一侧皆与弹簧的一端焊接固定,所述弹簧的另一端接与运动槽的内壁焊接固定。
与现有技术相比,本实用新型的有益效果是:本实用新型同时方便用户使用该装置,对病患伤口处进行定位,使得用户可以快速的病患的伤口处进行定位,可对按压力度进行调节,按压时喷溅的血液进行阻隔,避免血液喷溅沾染装置,造装置难以清洗,进一步更强了该装置的使用性方位,使得用户可以更加便捷地对棉花塞进行更换;
1、通过设置有转动杆、插杆、操作仓和定位杆,当用户使用该装置对病患伤口处进行按压时,用户可根据病患的伤口位置处,转动转动杆,并拉拽插杆,可使得插杆对转动杆进行固定,使得用户可通过该装置对病患伤口位置处进行角度调节,用户在通过旋转传动杆,可是的定位杆在操作仓内部进行收缩,并带动旋转块左右进行移动,同时方便用户使用该装置,对病患伤口处进行定位,方便用的使用,使得用户操作起来便捷,增加了该装置的实用性,使得用户可以快速的病患的伤口处进行定位;
2、通过设置旋转块和移动杆,当用户使用该装置完成对病患伤口处定位后,用户可通过旋转旋转块,使得旋转块带动移动杆进行自由旋转,同时移动杆不断地向下进行移动,从而移动杆带动棉花塞可对病患伤口处进行按压,其恶恶用户可根据病患地伤口程度,旋转移动杆,可对按压力度进行调节,方便用户使用,增强了该装置地使用性范围;
3、提供设置有阻隔板、连接板和插块,用户通过将该装置连接板下拉,使得连接板离开安装板的内部,方便用户对棉花塞的的更换,且用户通过阻隔板可对,按压时喷溅的血液进行阻隔,避免血液喷溅沾染装置,造装置难以清洗,进一步更强了该装置的使用性方位,使得用户可以更加便捷地对棉花塞进行更换。
【附图】:































