授权专利
【实用新型】一种仰卧位生产腿部支架
专利号:ZL202021907520.8
申请日:20200904
发明人:韩宇瑜
法律状态:授权
公开号:CN213250875U
授权公告日:2021-05-25
交易方式:转让; 许可
【摘要】:
本实用新型公开了一种仰卧位生产腿部支架,涉及到医疗设备领域,包括床板的一端两侧对称设置有空槽,空槽中活动设置有侧挡板,侧挡板在空槽中呈对称状设有两组,两组侧挡板的下端设置有底架,底架的端部固定设置有阻挡在侧挡板侧面的铰接座,侧挡板与铰接座之间通过铰接杆活动铰接,底架的底部固定设置有升降单元,侧挡板能够以铰接杆为轴向外转动,保证了腿部在放置在两组侧挡板之间时可进行一定性的避让,便于适应生产过程中产妇腿部的摆动以减少对产妇的伤害,且可适应不能粗细的腿部。
【技术领域】:
本实用新型涉及医疗设备领域,特别涉及一种仰卧位生产腿部支架。
【实用新型内容】:
本实用新型的目的在于提供一种仰卧位生产腿部支架,以解决上述背景技术中提出的问题。
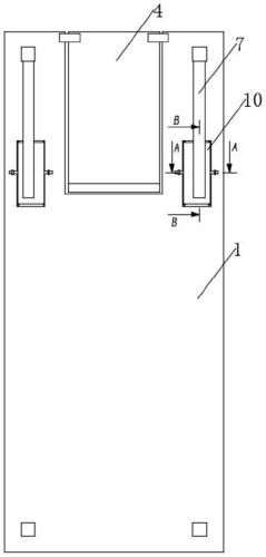
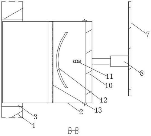
为实现上述目的,本实用新型提供如下技术方案:一种仰卧位生产腿部支架,包括床板,所述床板的底部四角处均固定焊接有支腿,所述床板的一端两侧对称设置有空槽,所述空槽中活动设置有侧挡板,所述侧挡板在空槽中呈对称状设有两组,两组侧挡板的下端设置有底架,所述底架的端部固定设置有阻挡在侧挡板侧面的铰接座,所述侧挡板与铰接座之间通过铰接杆活动铰接,所述底架的底部固定设置有升降单元,所述升降单元的底部固定焊接有支撑架板上表面,所述支撑架板固定焊接在床板底部一侧的支腿上,两组侧挡板之间固定设置有弹性带,所述弹性带的下方设置有弹性板,所述侧挡板的内侧面固定设置有乳胶层。
优选的,所述弹性带的两端分别固定在两组侧挡板的侧面,所述弹性板呈向上凸起的弧形板状结构,弹性板的一端固定焊接在一侧的侧挡板上,弹性板的另一端活动贴合在另一侧的侧挡板内侧。
优选的,两组侧挡板上均设置有活动槽,所述活动槽设置在弹性板的下方,弹性板的下方设有限制杆,所述限制杆的两端活动穿过两端的活动槽并伸出侧挡板的外侧,所述限制杆的端部通过螺纹配合连接有限位螺母。
优选的,所述活动槽的宽度与限制杆的直径匹配,活动槽的高度大于限制杆的直径,所述限制杆的长度大于两组侧挡板底部之间的距离。
优选的,所述空槽呈矩形槽体结构贯穿床板的上下表面设置,所述空槽的宽度大于两组侧挡板底部之间的距离,所述空槽的长度等于侧挡板的长度。
优选的,两组侧挡板之间的床板表面设置有转动槽,所述转动槽呈贯穿床板一侧的矩形槽体结构,转动槽的矩形槽体结构底部通过转轴活动铰接有转动板。
优选的,所述转动槽的开口处设有两组遮挡在转动板底部的活动限位板,所述活动限位板可转动的设置在床板的底部。
本实用新型的技术效果和优点:
1、本实用新型的一种仰卧位生产腿部支架,床板的一端两侧对称设置有空槽,空槽中活动设置有侧挡板,侧挡板在空槽中呈对称状设有两组,两组侧挡板的下端设置有底架,底架的端部固定设置有阻挡在侧挡板侧面的铰接座,侧挡板与铰接座之间通过铰接杆活动铰接,底架的底部固定设置有升降单元,侧挡板能够以铰接杆为轴向外转动,保证了腿部在放置在两组侧挡板之间时可进行一定性的避让,便于适应生产过程中产妇腿部的摆动以减少对产妇的伤害,且可适应不能粗细的腿部;
2、本实用新型的一种仰卧位生产腿部支架,两组侧挡板之间固定设置有弹性带,弹性带的下方设置有弹性板,侧挡板的内侧面固定设置有乳胶层,乳胶层的弹性缓冲能力强,对产妇腿部的保护性较强,侧挡板升起时,孕妇的腿部呈V字形固定,便于分娩,而侧挡板的升起高度可通过升降单元进行控制,使用方便,而整体设备简单,制造和使用成本较低,且两组侧挡板之间的弹性带垫在腿弯底部,在产妇腿部施力时可进行避让减少对孕妇造成的伤害,而弹性板呈弧形设置,适应腿部的弯曲对产妇腿部进行支撑,且弹性板具有一定的弹性伸缩能力,适应弹性带进行避让的同时可对腿部进行基础的支撑;
3、本实用新型的一种仰卧位生产腿部支架,两组侧挡板之间的床板表面设置有转动槽,转动槽呈贯穿床板一侧的矩形槽体结构,转动槽的矩形槽体结构底部通过转轴活动铰接有转动板,转动板可向下打开,而将两腿之间的位置预留出来,方便医护人员对产妇分娩进行操作,实用性强。
【附图】:
































